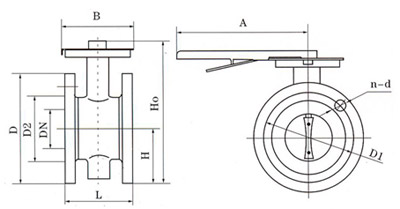
D41手柄法蘭式軟密封蝶閥具有結構簡潔,流阻系數小,流量特性趨于直線,不會滯留雜物,且重量輕,安裝方便,驅動扭矩較小的優點。這種閥門既可作切斷介質用,又可作調節介質的流量用。選用不同材料的零件,配用不同材料的密封圈,可適應不同的介質、工況,使成本與性能達到最佳效果,D41X手柄法蘭式軟密封蝶閥廣泛適用于溫度≤120℃,公稱壓力≤1.6MPa給排水、污水、食品、供暖、燃氣、船舶、水電、冶金、能源系統以及輕紡等行業,特別適用于雙向密封和閥體易銹蝕場合,作調節流量和截流介質。

| 公稱通徑 | 結構長度(標準值) | 外形尺寸(參考值) | 連接尺寸(標準值) | 參考重量 | |||||||||||||||
|---|---|---|---|---|---|---|---|---|---|---|---|---|---|---|---|---|---|---|---|
| 0.6MPa | 1.0 MPa | 1.6 MPa | |||||||||||||||||
| 毫米 | 英寸 | L | H | Ho | A | B | D | D1 | D2 | n-d | D | D1 | D2 | n-d | D | D1 | D2 | n-d | |
| 50 | 2 | 108 | 82.5 | 238 | 270 | 65 | 140 | 110 | 88 | 4-14 | 165 | 125 | 99 | 4-18 | 165 | 125 | 99 | 4-18 | 8.5 |
| 65 | 21/ | 112 | 92.5 | 258 | 270 | 65 | 160 | 130 | 108 | 4-14 | 185 | 145 | 118 | 4-18 | 185 | 145 | 118 | 4-18 | 9.5 |
| 80 | 3 | 114 | 100 | 278 | 270 | 65 | 190 | 150 | 124 | 4-18 | 200 | 160 | 132 | 8-18 | 200 | 160 | 132 | 8-18 | 11 |
| 100 | 4 | 127 | 110 | 293 | 270 | 65 | 210 | 170 | 144 | 4-18 | 220 | 180 | 156 | 8-18 | 220 | 180 | 156 | 8-18 | 15 |
| 125 | 5 | 140 | 125 | 309 | 310 | 65 | 240 | 200 | 174 | 8-18 | 250 | 210 | 184 | 8-18 | 250 | 210 | 184 | 8-18 | 21 |
| 150 | 6 | 140 | 142.5 | 336 | 310 | 65 | 265 | 225 | 199 | 8-18 | 285 | 240 | 211 | 8-22 | 285 | 240 | 211 | 8-22 | 24 |
注:若用戶需用閥板襯橡膠等特殊要求,訂貨時請注明
溫馨提示:
本文中所有文字、數據、圖片均只適用于參考。需要查看更多的D41手柄法蘭式軟密封蝶閥性能參數、結構尺寸參數、價格等詳情,或要求印刷樣本,請聯系我們。
主營產品:氣動調節閥 - 電動調節閥 - 自力式調節閥
版版權所有 © 上海大田閥門管道工程有限公司
地址:上海市浦東新區川宏路528號宏圖大樓5樓
