非密封型手動空氣調節蝶閥可作為通風除塵管路雙向啟閉及調節裝置,適用于冶金、礦山、水泥、化工、發電等行業的通風除塵及環境保護系統之中
非密封型手動空氣調節蝶閥為鋼板焊接,長度短、重量輕、結構簡單、使用維修方便,電動可實現現場操作和遠距離控制。本閥為非密封型閥門。

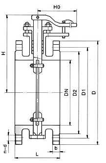
| 公稱通徑 | 主要外形尺寸 | 重量 | ||||||||
|---|---|---|---|---|---|---|---|---|---|---|
| L | D | D1 | D2 | H | b | C | n-d | Ho | ||
| 100 | 120 | 210 | 170 | 144 | 166 | 18 | 2 | 4-48 | 200 | 10 |
| 125 | 120 | 240 | 200 | 174 | 177 | 18 | 2 | 8-18 | 200 | 12 |
| 150 | 120 | 265 | 225 | 200 | 190 | 20 | 2 | 8-18 | 200 | 14 |
| 200 | 140 | 320 | 280 | 254 | 240 | 22 | 2 | 8-18 | 250 | 29 |
| 250 | 160 | 375 | 335 | 310 | 264 | 24 | 2 | 12-18 | 250 | 31 |
| 300 | 180 | 440 | 395 | 363 | 290 | 24 | 2 | 12-22 | 250 | 34 |
| 350 | 180 | 490 | 445 | 413 | 352 | 24 | 2 | 12-22 | 350 | 55 |
| 400 | 180 | 540 | 495 | 463 | 377 | 24 | 2 | 16-22 | 350 | 62 |
| 450 | 180 | 595 | 550 | 518 | 402 | 24 | 2 | 16-22 | 350 | 72 |
| 500 | 180 | 645 | 600 | 568 | 427 | 26 | 2 | 20-22 | 350 | 83 |
| 600 | 180 | 755 | 705 | 667 | 477 | 30 | 2 | 20-26 | 350 | 106 |
溫馨提示:
本文中所有文字、數據、圖片均只適用于參考。需要查看更多的非密封型手動空氣調節蝶閥性能參數、結構尺寸參數、價格等詳情,或要求印刷樣本,請聯系我們。
主營產品:氣動調節閥 - 電動調節閥 - 自力式調節閥
版版權所有 © 上海大田閥門管道工程有限公司
地址:上海市浦東新區川宏路528號宏圖大樓5樓
